
| Grundlagen zum technischen Zeichen |
|
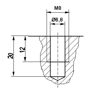
Bei der Bemaßung der Seitenansicht von Gewindegrundlöchern (Gewindesackloch) im Teilschnitt oder Vollschnitt ist der Gewindekernlochdurchmesser und der Gewindenenndurchmesser zu bemaßen. Desweiteren gilt es die nutzbare (Mindest-) Gewindelänge anzugeben und die Tiefe der Grundlochbohrung zu bemaßen. ![]() Bei Gewindedurchgangslöcher wird nur der Gewindenenndurchmesser bemaßt. Die Gewindetiefe ergibt sich aus der Bemaßung der Werkstückdicke. ![]() |